
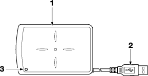
No. | Name | Description |
|---|---|---|
1 | Card reading area | Touch the IC card for registration or verification of IC card. |
2 | USB cable | Connect machine to connection port. |
3 | Status LED | Bright green: Operating normally Orange: USB communication not available Red: Device abnormality |